Les Animoji devraient gagner des effets avec iOS 13
Medhi Naitmazi- Il y a 7 ans (Màj il y a 7 ans)
- 💬 8 coms
- 🔈 Écouter
Apparus dans iOS 11 avec l’iPhone X et sa caméra TrueDepth, les Animoji devraient gagner des effets avec iOS 13.
C’est en effet ce que suggère le dépôt d’un brevet complet aux États-Unis le 22 novembre dernier.
Animojis ameliorés
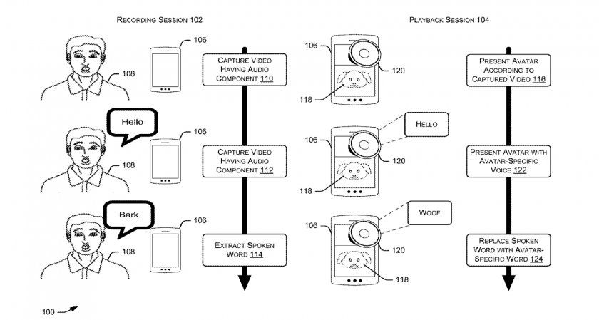
Pour rendre ses avatars plus funs et plus vivants, Apple prévoit donc d’ajouter des effets sonores. Pour cela, l’iPhone analyserait les expressions faciales ainsi que la voix de l’utilisateur afin de déclencher un son. Cette partie fonctionnerait avec la reconnaissance vocale où certains mots clés comme aboyer lancerait la lecture d’un média.
De même, les expressions du visage seraient mieux analysées avec le temps d’ouverture de la bouche, du lever des sourcils, etc. Dans ce cas, d’autres effets sonores pourraient être déclenchés.
Enfin, le brevet suggère qu'Apple réussisse aussi à remplacer certains mots de l’utilisateur par des effets quand la situation s’y prêterait.
On imagine qu’iOS 13 apportera ce genre de nouveautés et que les Memoji en profiteront également.



















