iPhone OS 4.0 interface 3D ?
 Medhi Naitmazi Medhi Naitmazi
- Il y a 16 ans (Màj il y a 16 ans)
- 💬 6 coms
- 🔈 Écouter
 Les rumeurs au sujet de la tablette continuent et encore une fois avec des pièces à conviction.
Les rumeurs au sujet de la tablette continuent et encore une fois avec des pièces à conviction.
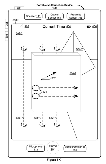
Le Baltimore Sun déterre deux brevets d'Apple (voir fin de l'article), dont un accordé en décembre 2009, où Cupertino explique les bases de la manipulations d'objets en 3D sur périphérique portable (qui a dit iPhone ? ça pourrait être une tablette tactile!).
Mode d'emploi : simple "tap" d'un ou plusieurs doigts pour sélectionner un objet qu'on peut ensuite faire tourner, écarter, grossir avec ses doigts.
Pour les autres manipulations il faudra attendre d'avoir la bête entre les mains si elle existe ...


 Une nouvelle interface pour la Dynamic Island des iPhone 17
Une nouvelle interface pour la Dynamic Island des iPhone 17 iOS 17 change l'interface durant un appel sur iPhone (màj : encore)
iOS 17 change l'interface durant un appel sur iPhone (màj : encore) iTest : Samsung lance un site pour tester l'interface Android sur iPhone
iTest : Samsung lance un site pour tester l'interface Android sur iPhone Il développe une app iPhone pour retrouver l'interface du vieil iPod à molette
Il développe une app iPhone pour retrouver l'interface du vieil iPod à molette Procreate Pocket : nouvelle interface, nouveaux pinceaux et compatibilité iPhone X
Procreate Pocket : nouvelle interface, nouveaux pinceaux et compatibilité iPhone X L'EQUIPE v8 : nouvelle interface sur iPhone et iPad
L'EQUIPE v8 : nouvelle interface sur iPhone et iPad

















