iPhone 8 : le Touch iD intégré à l'écran grâce à un nouveau brevet ?
Pierre Domenach- Il y a 10 ans (Màj il y a 10 ans)
- 💬 3 coms
- 🔈 Écouter
Les brevets se succèdent chez Apple pour trouver une solution à l'intégration du Touch ID à l'écran, tandis qu'LG et Synaptics proposent déjà leur propre solution que nous ne devrions pas tarder à voir débarquer sur les smartphones Android, courant 2017 avant même la sortie de l'iPhone 8.
La disparition du bouton Home et l'intégration du Touch ID sur l'iPhone de 2017 semblent acquises, avec de grands médias qui ont rapporté des plans d'Apple en ce sens, notamment Bloomberg, le WSJ et le NYT. Ce sur quoi plane le doute, c'est la technologie qu'utilisera la société californienne pour y parvenir...
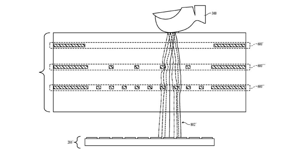
Aujourd'hui c'est un nouveau brevet qui fait surface, quatrième du genre, qui permet, à l'instar du dernier brevet que nous vous avions présenté, de détecter votre empreinte digitale non seulement sur une zone spécifique de l'écran, mais bien sur l'intégralité de l'écran.

Cette fois il ne serait pas question d'ultrasons mais de champs électromagnétiques qui offriraient la possibilité d'identifier avec précision les creux des empreintes digitales des doigts qui se poseraient sur un écran capacitif, peu importe leur position sur l'écran.
Source




















