Un nouveau brevet de clavier Apple avec trackpad sur les touches
Medhi Naït Mazi- Il y a 8 ans (Màj il y a 8 ans)
- 💬 Réagir
- 🔈 Écouter
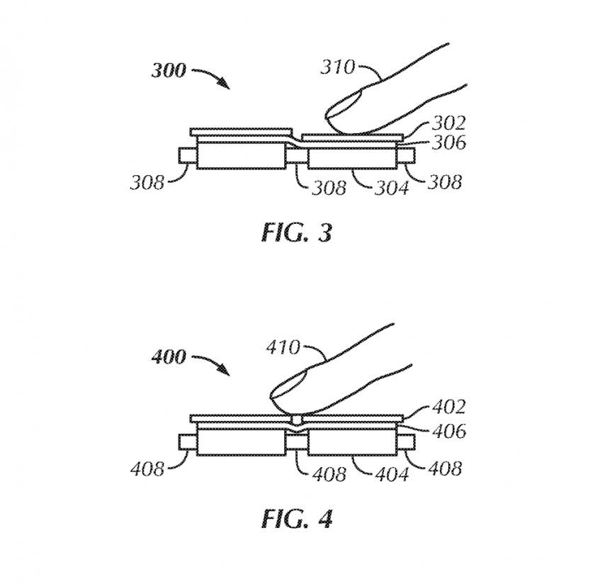
Les brevets Apple sont nombreux et souvent jamais destinés à la production. Celui-là vient fournir une nouvelle idée du futur clavier pommé avec un système qu'on a déjà vu sur iOS : les touches du clavier qui se transforment en trackpad quand on glisse dessus.
Après avoir mis au point un clavier anti-miettes puis un clavier à retour haptique (pour des touches virtuelles comme la Touch Bar), il est donc temps d'inclure un trackpad sans agrandir l'ensemble. Evidemment, il ne s'agit pas du clavier des Macbook mais celui des Mac de bureau qui sont souvent affublés d'une souris en plus ou d'un trackpad séparé.

Un clavier avec trackpad sur les touches
Pour utiliser les touches comme un trackpad, Apple utiliserait un mécanisme de pression sensitive afin de détecter les gestes et ainsi permettre à l'utilisateur de déplacer le curseur en effleurant les touches.
Si l'idée est bonne, il faudra voir comment cela peut être mis en pratique sans être désagréable sous les doigts.





















