Apple veut mieux protéger ses claviers contre les miettes
Victor Sauvage- Il y a 8 ans (Màj il y a 8 ans)
- 💬 7 coms
- 🔈 Écouter
Avec l'arrivée des ordinateurs portables, on a pris l'habitude d'emporter ces appareils un peu partout avec nous quitte à leur faire prendre des risques.
Résultat, nos claviers souffrent régulièrement face aux aléas de la vie et surtout face aux miettes de nourriture. Apple en est bien conscient et la marque à la pomme vient d'obtenir un brevet pour mieux se protéger face à ce tracas.
Apple veut mieux protéger ses claviers contre les miettes
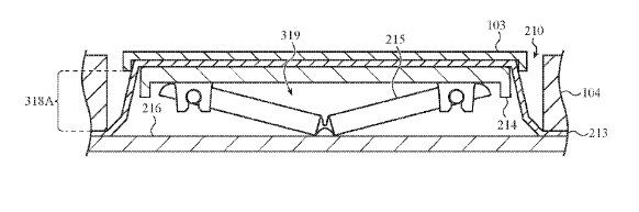
Afin de mieux protéger les touches à mécanisme papillon des MacBook Retina, Apple réfléchirait à des membranes pour empêcher les poussières et autres miettes de se glisser entre les touches.
Dit ainsi, cela semble assez simple mais la solution pommée serait assez technique pour que cet ajout n'est pas d'impact sur la qualité du clavier au toucher.
Il pourrait même y avoir un système pour activer ses membranes afin d'évacuer les miettes, un peu comme avec les Apple Watch Series 2 et Series 3 pour expulser le liquide présent dans les haut-parleurs.

Source

Apple veut protéger les enfants des photos sensibles dans iOS (màj : officiel)


















