Magsafe, le connecteur magnétique d’Apple, pourrait revenir très bientôt, et pas seulement sur Mac
iPhoul- Il y a 7 ans (Màj il y a 7 ans)
- 💬 3 coms
- 🔈 Écouter
Il était le port de chargement par défaut de tous les ordinateurs portables Apple et il était extrêmement pratique jusqu’à sa disparition suite à l'introduction de l'USB-C en 2016. Toutefois, il semblerait qu’à Cupertino, ils n’ont pas complètement abandonné l’idée du connecteur magnétique, comme le révèle un brevet récent.
Magsafe : L’iPhone et l’iPad seraient de la partie
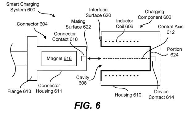
Le document en question s'appelle « Smart Charging Systems for Portable Electronic Devices » (Systèmes de charge intelligents pour dispositifs électroniques portables) et illustre un "système de charge intelligente comprenant un connecteur magnétique et un composant de charge pouvant être configuré pour attirer et repousser dynamiquement le connecteur vers et depuis un dispositif électronique."
La grande nouveauté, c’est qu’il serait réinventé pour "les smartphones, les appareils portables, les smartwatches, les tablettes, les ordinateurs personnels, etc."

Enfin, il n'est pas clair si ce système peut également être utilisé pour transférer des données, mais il est raisonnable de s'attendre à ce qu'il le soit. Que ce soit sur iPhone, iPad ou autre Mac.
Source




















