Brevet : Apple protège un écran incurvé, comme l'Edge de Samsung
Victor Sauvage- Il y a 10 ans (Màj il y a 10 ans)
- 💬 5 coms
- 🔈 Écouter
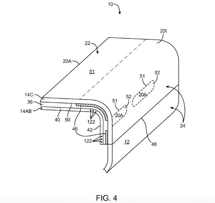
L'écran incurvé sur le côté des Galaxy Edge de Samsung fait partie des rares véritables innovations dans le monde des mobiles ces dernières années, même si son utilité n'est pas encore indiscutable.
Visiblement, le constructeur sud-coréen n'est pas le seul intéressé par cette fonctionnalité. En 2015, soit an après la sortie du Samsung Galaxy Note Edge, Apple a déposé un brevet similaire.


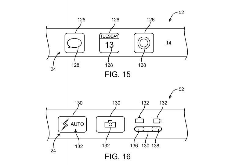
La compagnie pommée vient de se voir attribuer officiellement les droits sur cette invention ce 9 août 2016 et elle permettrait également de faire apparaître des boutons virtuels, pour "régler le volume, lancer l'appareil photo ou contrôler un deuxième appareil".

iPhone 8 : finalement un écran OLED incurvé façon Samsung ?


















