Nouveau brevet Apple sur l'intégration du capteur d'empreintes
Victor Sauvage- Il y a 9 ans (Màj il y a 9 ans)
- 💬 2 coms
- 🔈 Écouter
De nombreuses nouveautés sont attendues avec l'iPhone 8 et le capteur biométrique du Touch ID pourrait être revisité à cette occasion.
Les rumeurs à ce sujet ne s'arrêtent plus au cours des dernières semaines et un brevet attribué à la marque à la pomme ne va pas arranger les choses, puisque ces documents confirment officiellement qu'Apple travaille sur ce sujet.
Nouveau brevet sur l'intégration du capteur d'empreintes
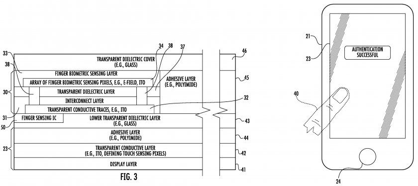
En lisant ces textes, on apprend que le capteur d'un nouveau genre pourrait lire les empreintes de doigts, depuis n'importe quelle partie de l'écran et non pas uniquement à un endroit, comme avec le Touch ID.
Apple précise même que cette identification pourra être effectuée depuis n'importe quel application grâce à des "vagues acoustiques". Il sera d'ailleurs possible de s'identifier de façon sécurisée au sein même d'une application, sans avoir à en sortir. On avait parlé d'un brevet sur l'imagerie acoustique récemment.
Si ce brevet a été officiellement attribué à Apple cette semaine, la demande a été effectuée en janvier 2015. Pour rappel, la suppression du Touch ID permettrait à Apple de rogner plus facilement sur les bords qui entourent l'écran, comme le Galaxy S8.


Huawei Mate 20 et Mate 20 Pro : triple APN, cpu 7 nm, capteur d'empreintes sous l'écran


















