Les AirPods 2 pourraient permettre de recharger son iPhone
Victor Sauvage- Il y a 9 ans (Màj il y a 6 ans)
- 💬 3 coms
- 🔈 Écouter
Les AirPods ont déjà rencontré un certain succès auprès du grand public et la deuxième génération devrait séduire encore plus de clients.
Pour y arriver, la marque à la pomme aurait déjà pensé à une idée astucieuse. En cas de manque d'énergie sur son smartphone, le boîtier des AirPods 2 pourrait servir à recharger son iPhone.
Les AirPods 2 pourraient recharger un iPhone
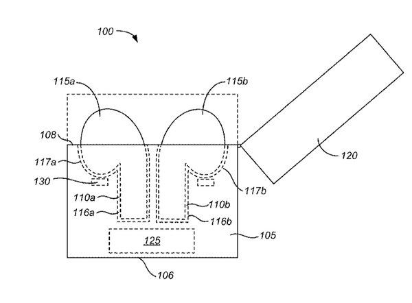
Cette nouvelle rumeur provient d'un brevet récemment attribué à Apple et on sait bien que dans ce genre de cas, cela ne signifie pas à 100 % qu'Apple commercialisera cette idée.
En attendant, cette solution permettrait de recharger en partie son iPhone, grâce au nouveau boîtier des AirPods simplement en le posant à côté. Apple Word ajoute d'ailleurs que ce nouvel accessoire pourrait être commercialisé avant la fin de cette année pour 69 dollars. Une rumeur relativement improbable sur le délai, il faut bien le reconnaître.

















