Bientôt un boîter d'AirPod avec une enceinte Bluetooth ?
Victor Sauvage- Il y a 8 ans (Màj il y a 8 ans)
- 💬 3 coms
- 🔈 Écouter
Le boîtier de charge des AirPod a un rôle bien précis. Redonnez un peu d'énergie aux écouteurs sans-fil de la marque à la pomme.
Mais lorsqu'ils ne remplissent pas leur mission première, il faut bien reconnaître que ces boîtiers sont un peu encombrants et inutiles. Du côté d'Apple, on vient d'avoir une bonne idée avec l'objectif d'ajouter une enceinte Bluetooth à ce boîtier.
un boîtier de charge à enceinte pour les airpod ?
Apple vient tout juste de se voir attribuer la parternité d'un brevet à ce sujet par l'U.S. Patent and Trademark Office. Evidemment, comme toujours dans ces cas-là, il faut préciser que tous les brevets ne deviennent pas réalité par la suite.
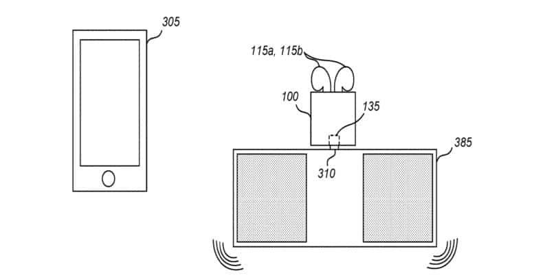
Si les détails sont peu nombreux, on sait déjà que cette petite nouveauté pourrait permettre de continuer à écouter de la musique même quand les écouteurs sont en charge, comme on peut le voir dans l'image ci-dessous.

Source
















