24h chez Apple : AAPL dégringole, saphir, brevets...
Victor Sauvage- Il y a 12 ans (Màj il y a 12 ans)
- 💬 7 coms
- 🔈 Écouter
Voici notre condensé quotidien des actualités les plus importantes de l'univers Apple.
Aujourd'hui au programme : l'action AAPL passe sous les $500, rumeur d'une surprise dans l'usine de saphirs et de nouveaux brevets pour les écrans d'iDevices.
L'action AAPL passe sous les $500
Malgré les multiples achats de Carl Icahn, dont on vous parlait hier, l'action d'Apple a chuté pour passer sous la barre de 500 dollars ce matin. L'action est vite remontée à 506 dollars au cours de la journée mais cette baisse représentait le niveau le plus bas depuis la mi-octobre. Depuis l'action AAPL avait dépassé la barre des 570 dollars fin décembre.
Rumeur d'une surprise dans l'usine de saphirs
La fameuse usine de saphire de Mesa, dirigé en partie par Apple, devrait produire un"sous-composant essentiel aux produits Apple, qui sera utilisé dans la fabrication de produit électronique grand public qui sera importé et vendu globalement" selon un document officiel de la firme publié aujourd'hui. En revanche, impossible de savoir de quoi il s'agit. Le Touch ID, le capteur photo, la vitre de l'écran ?
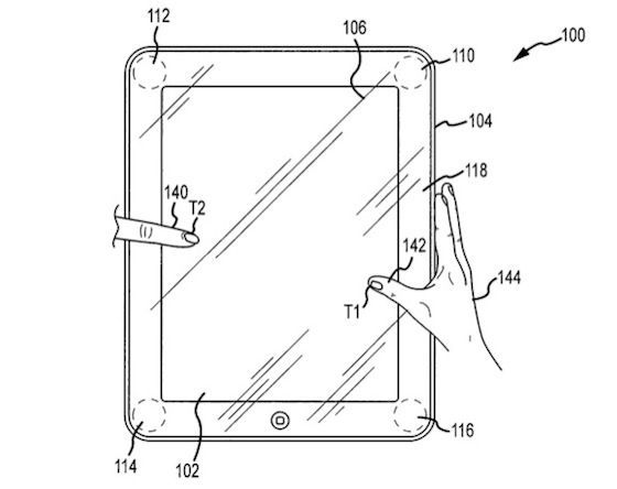
De nouveaux brevets pour les écrans d'iDevices
Apple vient de se voir attribuer un brevet très mystérieux, mais qui pourrait se révéler très utile, en fonction des applications imaginées par les développeurs de la société. L'idée est la suivante, plutôt que de se contenter d'un écran tactile, les bords de l'écran et la coque au dos d'iDevices seraient aussi plus intelligents, en devenant tactile à leur tour. De quoi penser à de nouveaux gestes pour contrôler nos iPhones ou iPads.





















