Apple Watch écran True Tone : mesure de la lumière ambiante à travers la peau !
Pierre Domenach- Il y a 10 ans (Màj il y a 10 ans)
- 💬 2 coms
- 🔈 Écouter
Un nouveau dépôt de brevet d'Apple qui vient d'être publié nous laisse entrevoir l'arrivée d'écrans True Tone sur les prochaines Apple Watch grâce à une technologie innovante qui permet de mesurer la lumière ambiante à travers votre peau ! Ce qui permettrait de placer les capteurs de lumière ambiante au dos du dispositif pour ne pas trop encombrer l'espace limité de sa façade avant.
Les écrans True Tone permettent de proposer un affichage adapté à la lumière ambiante (et non seulement à la luminosité), ce qui offre des économies d'énergie et une perception des couleurs plus naturelle. Pour le moment seuls les iPad Pro de 9,7 pouces en bénéficient. On l'attendait également sur l'iPhone 7 avec l'introduction des écrans à gamut élargi, mais finalement ce ne devrait être que pour l'iPhone 8 de 2017.
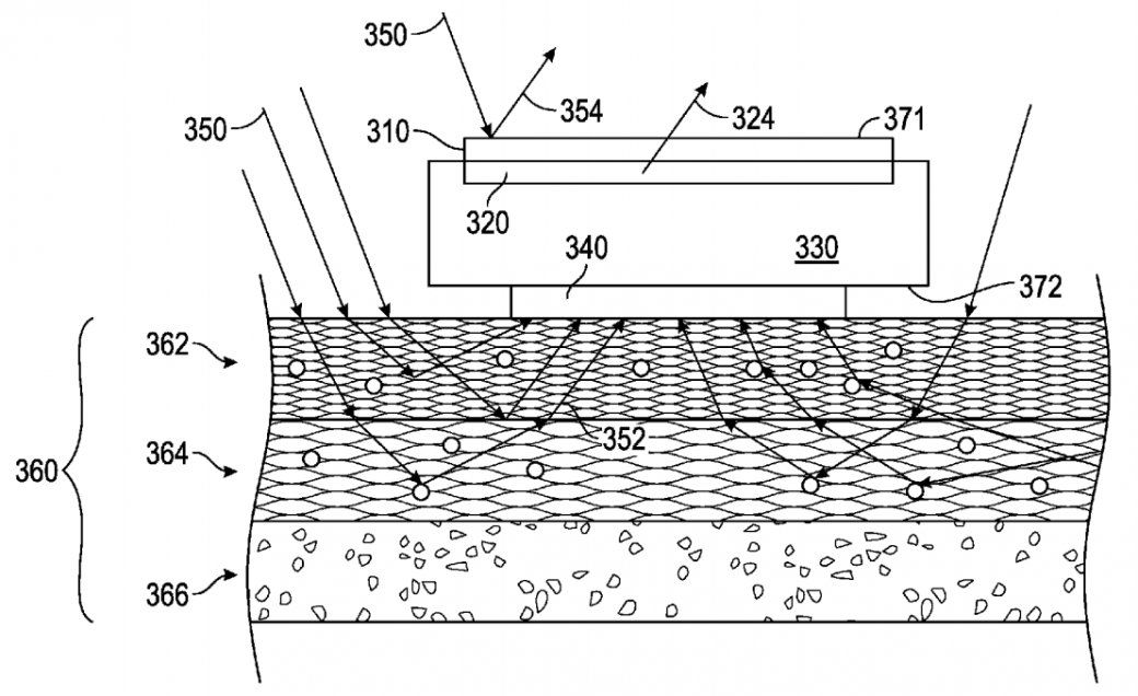
Le brevet publié jeudi par l'USPTO (US Patent and Trademark Office, INPI américian) s'intitule « Détection de la lumière ambiante à travers le corps humain ». Une solution originale qui se distingue des autres par l'ajout d'un capteur à l'arrière de l'appareil plutôt qu'à l'avant (à l'instar des iPad Pro de 9,7 pouces).

En effet, le large écran OLED de l'Apple Watch ne laisse guère de place pour l'ajout de nouveaux capteurs qui viendraient encombrer et polluer son design minimaliste. Ainsi, au lieu d'ajouter un nouvel orifice qui pourrait se révéler inesthétique sur l'avant de l'élégant boitier, Apple propose l'installation d'un capteur ALS monté à l'arrière du châssis de l'Apple Watch.
« Le corps humain, ou plus précisément la peau et la chair du corps humain, peut constituer une interface entre une lumière incidente et un capteur optique. »
C'est-à-dire que la lumière incidente qui arrive sur votre peau et votre chair est réfléchie, un capteur optique peut la capter et la mesurer pour qu'elle puisse être exploitée par la suite.
Adaptabilité True Tone
Dans certains modes de réalisation, le système est réglé pour compenser l'atténuation de la lumière à travers la peau grâce au recours à des filtres physiques et logiciels qui s'étalonnent et s'adaptent dynamiquement aux différents types de peau.
Dans d'autres modes de réalisation, le capteur est capable de détecter une grande variété de sources lumineuses et d'éclairages, des données qui peuvent ensuite être utilisées afin d'ajuster et de reproduire avec plus de précision les couleurs affichées à l'écran, comme sur l'iPad Pro de 9,7 pouces.
Prévention des coups de soleil
En prime, pour rejoindre la préoccupation d'Apple pour notre santé, le module ALS pourrait notamment être configuré pour détecter et alerter les utilisateurs sur leur exposition aux rayons UV en fonction de leur dangerosité et du niveau d'exposition. On peut penser encore à des applications en ce qui concerne la qualité du sommeil...

Economie d'énergie intelligente
L'intégration de la puce GPS et de l'accéléromètres conjuguées aux informations stockées dans les applications installées pourraient par ailleurs palier un éventuel manque de données du capteur ALS dans certaines situations. Par exemple pour déterminer si un utilisateur est en train de dormir, la montre connectée peut alors rentrer en veille ou dans un mode d'économie d'énergie.
What else ?
On ne sait pas encore si Apple a l'intention d'incorporer d'autres fonctionnalités avancées du capteur ALS à l'Apple Watch, les avancées technologiques faites sur certains produits Apple finissant souvent par rejaillir sur d'autres gammes de produits. À titre d'exemple, le 3D Touch de l'iPhone est une version améliorée de la technologie Force Touch (et du moteur haptique) d'abord introduite sur l'Apple Watch. Plus récemment, l'Apple Watch Series 2 a emprunté la technologie GPS de l'iPhone et l'iPad...
Source




















