Pourra-t-on bientôt charger son iDevice en le secouant ?
Victor Sauvage- Il y a 14 ans (Màj il y a 14 ans)
- 💬 17 coms
- 🔈 Écouter
Aujourd'hui, un nouveau brevet vient d'être attribué à Apple pour recharger un appareil électronique en le secouant.
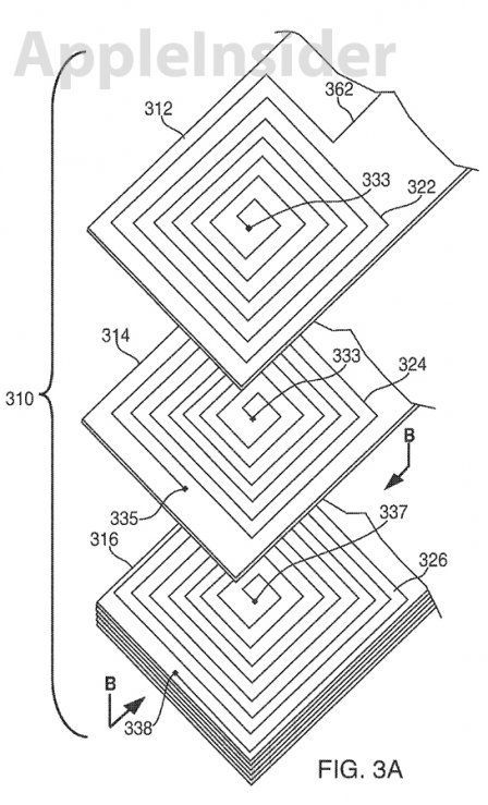
L'induction électromagnétique n'a rien de nouveau, mais il semblerait qu'une avancée technologique permettrait de réduire considérablement la taille de la bobine.
Jusqu'à maintenant, des appareils comme des radios ou des torches avaient besoin d'une bobine de cuivre assez volumineuse pour les faire fonctionner, alors que ces appareils n'ont pas de gros besoins énergétiques. La miniaturisation était donc nécessaire.
Aujourd'hui, Apple pense à imprimer des bobines aussi fines que des circuits électroniques pour les assembler et ensuite faire bouger des aimants autour, afin de créer l'énergie nécessaire.
L'iPhone et l'iPod sont mentionnés dans les papiers légaux, sans pour autant laisser imaginer que cette invention verra prochainement le jour. Il n'en reste pas moins qu'il serait intéressant de voir de tels projets se développer.
Source




















