L'Apple Watch + fine grâce au moteur haptique intégré au bracelet ?
Victor Sauvage- Il y a 9 ans (Màj il y a 9 ans)
- 💬 4 coms
- 🔈 Écouter
La toute première information concernant l'Apple Watch Series 3 pourrait être déjà connue grâce à la publication d'un brevet.
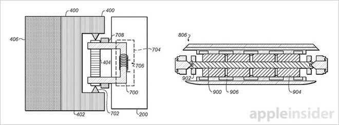
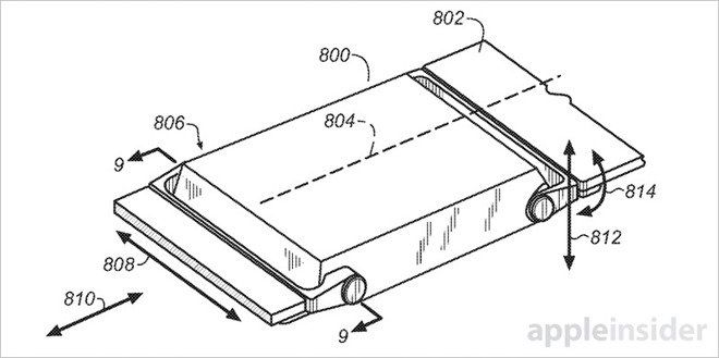
En effet, l'U.S. Patent and Trademark Office vient d'accorder à Apple la paternité d'un nouveau brevet pour intégrer le moteur haptique de l'Apple Watch à l'intérieur de son bracelet.
Réduire l'épaisseur tout en rendant l'Apple Watch + intelligente
L'idée plutôt astucieuse permettrait de réduire encore l'épaisseur de la smartwatch pommée, mais cela ne serait pas le seul avantage de ce changement.
En intégrant le moteur gérant les vibrations au bracelet, il serait possible d'offrir plus de détails dans le mouvement. Concrètement, la montre pourrait tourner autour du poignet, de droit à gauche ou de haut-en-bas par exemple et la sensation pourrait varier d'un léger pincement à un tremblement plus prononcé en fonction des notifications.























