Apple a déposé un brevet d'écran pliable pour iPhone et iPad
Medhi Naït Mazi- Il y a 9 ans (Màj il y a 9 ans)
- 💬 2 coms
- 🔈 Écouter
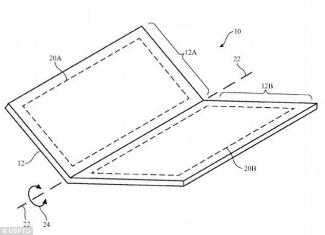
Un brevet déposé par Apple le 22 septembre 2016 vient d'être publié en ligne par l'US Patent & Trademark Office américaine. Dans ce document, on apprend qu'Apple prépare un écran pliable pour iPhone et / ou iPad.
Repéré par Patently Apple, le brevet décrit un dispositif électronique qui peut avoir une partie flexible permettant de plier le dispositif. L'écran flexible peut avoir une zone de pliage qui permet à l'écran de se plier le long d'un axe, comme un livre par exemple. On imagine alors un iPad capable de se replier en deux afin d'être rangé dans la poche, comme un iPhone.
Un écran MicroLED ?
Le brevet mentionne également que l'appareil dispose d'un écran MicroLED, une technologie d'écran de nouvelle génération destinée à remplacer l'écran OLED du dernier iPhone X et qu'on a déjà mentionné à plusieurs reprises. Mais pour semer le doute, le brevet en question mentionne également la technologie LCD.
D'après les rumeurs les plus récentes, Apple travaille bien sur un écran de ce type avec LG. En saura-t-on plus en 2018 ? Restez connectés car pour l'iPhone X, nous avions vu justes avec les dizaines de rumeurs !





















