24h chez Apple : Mac Pro en vente, standardiste chez Apple, projecteur...
Victor Sauvage- Il y a 12 ans (Màj il y a 12 ans)
- 💬 8 coms
- 🔈 Écouter
Voici notre condensé quotidien des actualités les plus importantes de l'univers Apple.
Aujourd'hui au programme : Le Mac Pro en vente, la vie de standardiste chez Apple, un ordinateur avec projecteur breveté et une pub clonée pour l'iPhone 5.
Le Mac Pro en vente
Les premiers Mac Pros seront livrés à partir du 30 décembre aux USA. Sachez que la configuration la plus haut de gamme atteint presque les 10 000 dollars ! La souris coûte $49 et le clavier sans-fil $69.
La vie de standardiste chez Apple
Une jeune femme qui travaille 39h par semaine et gagne environ 1100€ net par mois à Barcelone, comme standardiste chez un sous-traitant d'Apple fait le buzz à cause de ses conditions de travail. Elle ne décrit rien qui ne soit pas déjà connu, mais on sait à quel point ce genre d'entreprises peuvent avoir un rapport très dur avec leurs employés. Au point de chronométrer la moindre pause pipi.
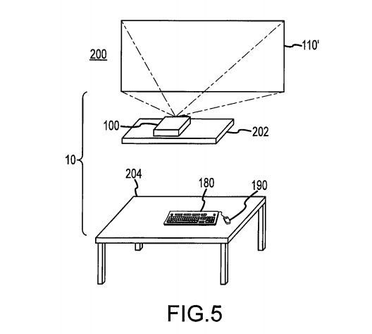
Un ordinateur avec projecteur breveté
Apple vient de se voir attribuer un brevet déposé en 2008 pour un ordinateur qui reposerait uniquement dans un projecteur, afin d'en profiter sur n'importe quelle surface. Le boîtier intégrerait toutes les technologies d'un ordinateur et d'une tablette. Sympa pour occuper le salon, sans s'encombrer d'un écran noir monstrueux, lorsqu'il est éteint.
Une pub clonée pour l'iPhone 5
Plusieurs sociétés japonaises ne se privent pas pour copier outrageusement les produits d'Apple, face à l'absence de sanctions, ou presque. L'un d'entres-elles a poussé le vice jusqu'à réaliser sa propre pub. Même là, la copie ne dépasse pas l'originale.
Lien vers la vidéo




















