Accidents, crises cardiaques.... : l'Apple Watch pourrait contacter les urgences
Victor Sauvage- Il y a 10 ans (Màj il y a 10 ans)
- 💬 2 coms
- 🔈 Écouter
Ce n'est pas souvent que l'on peut écrire une telle phrase, mais Apple vient d'obtenir un brevet qui pourrait sauver de nombreuses vies.
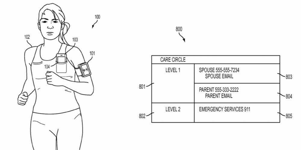
Si la marque s'est bien gardée de citer l'iPhone ou l'Apple Watch dans les documents officiels, il est clair que la montre et le smartphone pourraient travailler en binôme, pour alerter les personnes nécessaires en cas d'urgences, quelque-soit le type de problème.
Le premier évoque notamment "les accidents de voiture ou de vélo, les urgences médicales comme une crise cardiaque ou d'anévrisme, la séparation d'un enfant de son parent, les avalanches, les chutes, les agressions et les feux".

Si un tel événement est reconnu, les iDevices pourraient envoyer un courriel, passer un appel à un proche ou même "contacter le 911", soit le numéro d'urgence aux Etats-Unis.
Si le service ne se trompe pas trop souvent, il pourrait s'agir d'une avancée majeure.



















