Face ID et appareil photo sur l'Apple Watch 5 ?
Medhi Naït Mazi- Il y a 8 ans (Màj il y a 8 ans)
- 💬 10 coms
- 🔈 Écouter
Et si la prochaine Apple Watch 5 avait Face ID et donc un appareil photo ? C'est une possibilité accréditée par un nouveau brevet déposé par Apple.
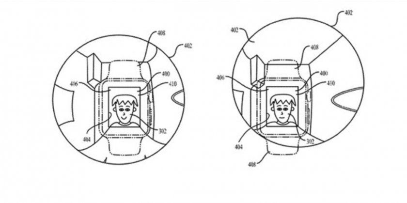
En effet, Apple a conçu et détaillé l'identification faciale sur Apple Watch permettant, outre le déverrouillage, de réaliser des appels Facetime vidéo et l'utilisation des Animoji / Memoji.
Une Apple Watch 5 encore plus autonome
Le brevet précise d'autres utilisations comme la prise de photo ou le déverrouillage à distance de produits Apple. Pour la partie imagerie, il est même indiqué qu'un algorithme se chargera du cadrage autour du visage de la personne, histoire de faire en sorte que l'affichage sur petit écran soit correct.
Dans le détail, l'Apple Watch 5 pourrait inclure deux caméras, une sur le bord du cadran et une autre sur l'extrémité du bracelet (original). Ce serait logiquement une TrueDepth et une classique.
L'émancipation de la montre pommée continue donc, après l'ajout de fonctionnalités clés comme le GPS, l'électrocardiogramme ou la 4G, et une excellente Apple Watch 4.

Qui serait intéressé pour une nouvelle version de la montre avec de telles nouveautés ?
Via



















