Apple travaille... sur des gants intelligents
Victor Sauvage- Il y a 7 ans (Màj il y a 7 ans)
- 💬 Réagir
- 🔈 Écouter
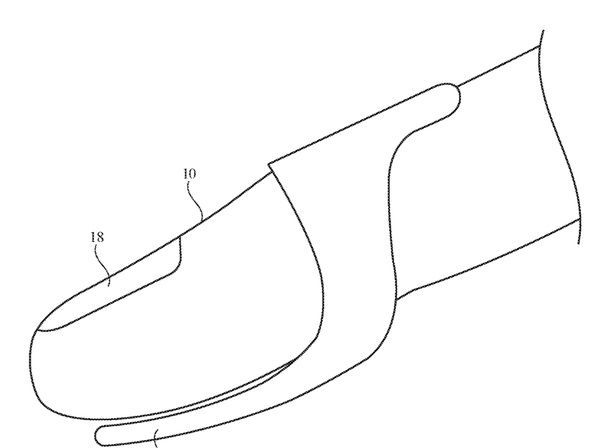
Apple vient de se voir attribuer un brevet sur un appareil totalement inédit dans la gamme pommée : une sorte de gant intelligent.
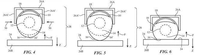
En réalité, il ne s'agit pas exactement d'un gant complet, mais plutôt d'un gant à un doigt qu'on enfilerait au bout de l'index par exemple.
Des gants intelligents pour Apple ?
Si l'apparence de ce "mono-gant" est déjà très étrange, son utilisation envisagée par Apple est tout aussi nébuleuse.
L'iPad serait de rendre la frappe plus "facile et plus confortable" qu'avec la simple pulpe au bout de nos doigts. Ce petit gant aurait pour vocation "à presser légèrement sous le doigt pour offrir une meilleure sensation". Plus de confort au moment de taper au clavier sur un iPad serait en effet bienvenu, mais Apple aurait un sacré boulot à réaliser au niveau du design pour que les utilisateurs enfilent un tel gant.


En janvier dernier, Apple avait aussi obtenu la paternité d'un brevet portant sur des gants pour interagir en réalité augmentée et virtuelle.
Source




















