HomePod : un brevet montre une adaptation du son pour plusieurs utilisateurs
Guillaume Gabriel- Il y a 7 ans
- 💬 2 coms
- 🔈 Écouter
L'HomePod commence doucement, mais sûrement à trouver son public, même si ces concurrents directs restent encore loin devant. Pour la seconde version de l'enceinte connectée, on espère qu'Apple fera fort et proposera de nouvelles fonctionnalités (et un prix plus décent ?) qui feront pencher la balance dans le bon sens.
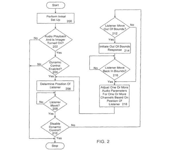
En attendant du concret, un nouveau brevet vient de voir le jour, et permettrait une fonctionnalité sympathique pour les foyers : en mettant en place ce dernier, le futur HomePod serait capable de diviser le son en plusieurs flux sonores selon le nombre de personnes et leur position.
Le HomePod bientôt capable de suivre plusieurs utilisateurs ?
Apple serait donc en train de travailler sur le suivi des utilisateurs pour leur proposer une expérience sonore selon leur positionnement. L'utilisateur sort de la pièce ? Le flux sonore se couperait automatiquement, privilégiant les personnes restantes.
Dans le second brevet, Apple détaille la gestion du volume selon la distance de l'utilisateur, se baissant petit à petit si ce dernier venait à se rapprocher de l'enceinte.

Source 1 / Source 2

















