24h chez Apple : Brevet, Apple Store, son Mac, Lobbying
 La Rédaction La Rédaction
- Il y a 11 ans (Màj il y a 11 ans)
- 💬 1 com
- 🔈 Écouter
 
 
Aujourd'hui au programme sur la planète Apple  : Un nouveau brevet déposé par Apple, un célèbre calligraphe pour faire la promotion du nouvel Apple Store chinois, l'origine du son de démarrage des Macs, et Apple qui fait du lobbying.
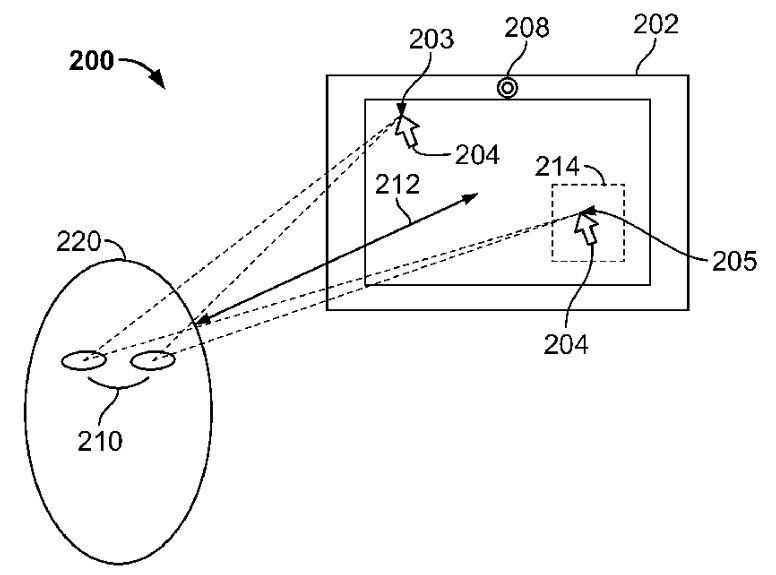
Un brevet Apple pour contrôler une interface avec la vue et les mouvements de l'oeil
L'USPTO (United States Patent and Trademark Office) vient de valider et publier sur son site un brevet déposé par Apple. Celui-ci décrit un système permettant de contrôler une interface sous OS X et iOS avec la vue et les mouvements de l'oeil. Bien sûr ça reste un brevet et rien ne dit qu'Apple va définitivement implémenter ce système dans le futur, mais la société étudie cette possibilité.

Chine : Apple embauche un célèbre calligraphe pour faire la promotion du nouveau store d'Hangzhou
Apple s'apprête à ouvrir le West Lake Apple Store d'Hangzhou à la date du 24 janvier, et à cette occasion celui-ci est mis en avant via une vidéo promotionnelle sur le site chinois d'Apple. La vidéo montre un célèbre calligraphe, Wang Dongling, qui forme des caractères chinois à l'aide d'un pinceau autour d'un logo Apple. Apple a enlevé hier les barrières protectrices dévoilant un bâtiment avec une face en verre dont le design est très similaire au futur grand Apple Store de San Francisco.

Jim Reekes : L'homme qui inventa le son de démarrage des Mac
Tout le monde possédant un Mac, connaît le son caractéristique de démarrage qui ressemble à un espèce de gong. Mais ce n'était pas le cas des premiers Mac qui produisaient juste un bip. Un bruit qui énervait un certain homme qui a décidé de changer ce son. Cet homme, c'est Jim Reekes. Il travaillait pour Apple dans les années 90 et a décidé de créer un son apaisant qu'il joua ensuite devant ses collègues et ses responsables. Cela leur a plu et le son a été ensuite introduit depuis 1991 dans toutes les machines.
Lobbying : Apple continue de dépenser pour défendre ses intérêts
Alors que Steve Jobs boudait la maison blanche, l'arrivée (élu CEO) de Tim Cooks en 2011 a changé la donne dans le domaine du lobbying chez Apple. La firme de Cupertino est étudiée à la loupe dès qu'elle sort un nouveau produit, et ça va être le cas de l'Apple Watch. Tim Cook prône l'ouverture et rencontre souvent des élus comme le sénateur Orrin Hatch, et un journal américain note qu'Apple a dépensé 2,9 millions de dollars de janvier à septembre 2014 dans le cadre de son activité de lobbying afin de gagner les faveurs des autorités américaines.

 Brevet : le rêve d’un iPhone tout en verre persiste chez Apple
Brevet : le rêve d’un iPhone tout en verre persiste chez Apple Apple Music et l'App Store en panne chez certains utilisateurs en France
Apple Music et l'App Store en panne chez certains utilisateurs en France Un brevet d'App Store pour le futur casque VR d'Apple
Un brevet d'App Store pour le futur casque VR d'Apple

















